加工中心的主軸部件
加工中心的主軸部件
主軸部件精度加工中心主軸部件由主軸動力、傳動及主軸組件組成,它是加工中心成型運動的重要執行部件之一,因此要求加工中心的主軸部件具有高的運轉精度、長久的精度保持性以及長時間運行的精度穩定性。
加工中心通常作為精密機床使用,主軸部件的運轉精度決定了機床加工精度的高低.考核機床的運轉精度一般有動態檢驗和靜態檢驗兩種方法。靜態檢驗是指在低速或手動轉動主軸情況下,檢驗主軸部件各個定位面及工作表面的跳動量.動態檢驗則需使用一定的儀器在機床主軸額定轉速下.采用非接觸的檢測方法檢驗主軸的回轉精度。由于加工中心通常具有自動換刀功能,刀具通過專用刀柄由安裝在加工中心主軸內部的拉緊機構緊固.因此主軸的回轉精度要考慮由于刀柄定位面的加工誤差所引起的誤差。
加工中心主軸軸承通常使用C級軸承,在二支承主軸部件中多采用4-1、2-2組合使用,即前支承和后支承分別用四個向心推力軸承和一個向心球軸承,或前、后支承都使用兩個向心推力軸承組成主軸部件的支承體系.對于輕型高精度加工中心,也有前、后支承各使用一個向心推力軸承組成主軸部件的支承體系,該種結構適宜高精度、高速主軸部件的場合.簡單的主軸軸承組合,可以大大降低主軸部件的裝配誤差和熱傳導引起的主軸隙喪失,但主軸的承載能力會有較大幅度的下降.
2 主軸部件結構
主軸部件主要由主軸、軸承、傳動件、密封件和刀具自動卡緊機構等組成。
⑴ 主軸
主軸前端有7:24的錐孔.用于裝夾BT40刀柄或刀桿.主軸端面有一端面鍵.既可通過它傳遞刀具的扭矩,又可用于刀具的周向定位.主軸的主要尺寸參數包括:主軸的直徑、內孔直徑、懸伸長度和支承跨距。評價和考慮主軸主要尺寸參數的依據是主軸的剛度、結構上藝性和主軸組件的工藝適用范圍.主軸材料的選擇主要根據剛度、載荷特點、耐磨性和熱處理變形大小等因素確定。主軸材料常采用的有45 鋼、Gcr15 等,需經滲氮和感應加熱悴火.

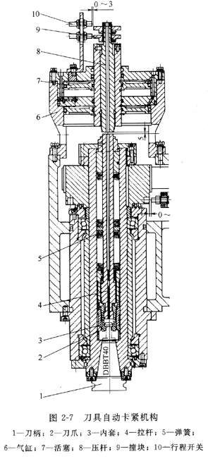
⑵ 刀具自動卡緊機構
加工中心可以白動換刀,所以,主軸系統應具備自動松開和夾緊刀具的功能。刀具的自動夾緊機構安裝在主軸的內部,圖2一7所示為刀具的夾緊狀態.刀柄1由主軸抓刀爪2 央持,碟形彈簧5通過拉桿4、抓刀爪 2 ,在內套 3的作用下將刀棲的拉釘拉緊,當換刀時,要求松開刀柄.此時將主軸上端氣缸的上腔通壓縮空氣,活塞7帶動壓桿8及拉4向下移動.同時壓縮碟形彈簧5,當拉桿4下移到使抓刀爪2的下端移出內套3時.卡爪張開.同時拉桿4將刀柄頂松,刀其即可由機械手或刀庫拔出。待新刀裝入后,氣缸6的下腔通壓縮空氣.在碟形彈簧的作用下.活塞帶動抓刀爪上移.抓刀爪拉桿貫新進人內套3 ,將刀柄拉緊。活塞7移動的兩個極限位置分別設有行程開關10,作為刀具夾緊和松開的信號.

刀桿尾部的拉緊機構,除上述的卡爪式外,常見的還有鋼球拉緊機構,其內部結構如圖2一8所示。
- 留言列表
- 發表留言
-
◎歡迎參與討論,請在這里發表您的看法、交流您的觀點。